5034-OB8S 和 5034-OB8SXT 数字量 8 安全输出模块
有关可用于功能安全应用的 5034-OB8S 和 5034-OB8SXT 接线图的更多示例,请参见 PointMax 数字量 I/O 模块用户手册(出版物:5034-UM002)。 接线配置影响适用于 PointMax 安全 I/O
模块的安全应用级别。
5034-OB8S 和 5034-OB8SXT 接线图

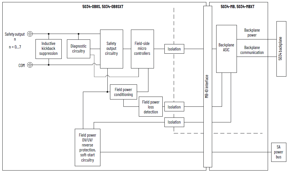
5034-OB8S 和 5034-OB8SXT 功能块图

属性 | 5034-OB8S、5034-OB8SXT |
|---|---|
导通电压范围 | 17.5…30 V DC |
导通状态压降(最大值) | 1 A 时为 0.5 V DC |
最大关断状态电压 | 最小负载 10 kΩ 时为 5 V DC |
每点关断状态漏电流(最大值) | 0.5 mA |
每点输出电流额定值(最大值) | 40 °C (104 °F) 时为 1 A 60 °C (140 °F) 时为 0.5 A |
每模块输出电流额定值(总值) | 40 °C (104 °F) 时为 8 A 60 °C (140 °F) 时为 4 A |
每个输出允许的现场电容限值(最大值) | 100 nF |
每个输出允许的现场电感限值(最大值) | 0.5 A 时为 1.2 H |
关断时感性负载的输出电压限值(最大值) | 53 V DC |
每点浪涌电流(最大值) | 2.4 A 持续 50 ms,每 2 s 可重复一次 模块电流额定值不得超过 10 A。 |
安全等级 (1) | 最高可达并包括 4/PL e (符合 EN ISO 13849-1 标准),SIL 3 (符合 IEC 61508
标准) |
SRT | 6 ms |
安全测试脉冲宽度(最大值) | 0.7 ms |
安全测试脉冲周期(典型值) | 512 ms |
开路负载检测诊断 | 关断状态(可手动启用) |
输出过载检测 | 是,典型值 4 A |
输出端对高电位短路检测 | 是,处于安全脉冲测试模式 |
通道间短路检测 | 是,处于安全脉冲测试模式 |
模块过温检测 | 是 |
输出对地短路/过载保护 | 是 |
SA 电源反向电压保护 | 是 |
SA 电源过电压保护(最大值) | 60 V DC |
(1) 有关安全模块的安全应用适用性等级和安全数据,请参见 PointMax 数字量 I/O
模块用户手册(出版物:5034-UM002)。 | |
属性 | 5034-OB8S、5034-OB8SXT |
|---|---|
每模块输出数 | 8 |
输出类型 | 源电流 |
SA 电源标称工作电源电压 | 24 V DC |
SA 电源工作电压范围 | 18…30V DC |
SA 电源电流(标称值) | 40 °C (104 °F) 为 8.1 A 60 °C (140 °F) 时为 4.1 A |
SA 电源电流(最大值) | 40 °C (104 °F) 为 8.1 A 60 °C (140 °F) 时为 4.1 A |
无负载 SA 电源电流 | 24 V DC 时为 20 mA |
最大功耗 | 40 °C (104 °F) 时为 2.6 W 60 °C (140 °F) 时为 1.4 W |
最大热量损耗 | 40 °C (104 °F) 时为 8.87 BTU/hr 60 °C (140 °F) 时为 4.78 BTU/hr |
绝缘电压 | 250 V(连续),基本绝缘类型,系统侧到现场侧 SA 电源和输出端口之间无隔离 各个输出端口之间无隔离 |
RIUP 支持 | 是 |
CIP Sync | 是,仅支持从站普通时钟 |
电子匹配功能 | 通过编程软件实现电子匹配功能 |
RTB 钥匙位置(插槽) | 1、5、14 |
支持 RTB | 5034-RTB18、5034-RTB18S |
接线类别 (1) | 2 - 信号端口 2 - 电源端口 |
接线技术规范 | 关于可拆卸端子块接线技术参数,请参见 PointMax I/O 系统技术参数技术数据(出版物:5034-TD001) |
指示灯 | 1 个绿色/红色模块状态指示灯 1 个绿色/红色 SA 电源状态指示灯 8 个黄色/红色 I/O 状态指示灯 |
近似尺寸(高 x 宽 x 深) | 123.6 x 15.0 x 66.4 mm (4.87 x 0.59 x 2.61 in.) |
近似重量 | 46.0 g (1.62 oz.) – 5034-OB8S 49.0 g (1.73 oz.) – 5034-OB8SXT |
防护罩类型 | 无(开放式) |
北美温度代码 | T4 |
UKEX/ATEX 温度代码 | T4 |
IECEx 温度代码 | T4 |
(1) 使用此导体类别信息制定布线计划。 请参见 Industrial Automation Wiring and
Grounding Guidelines(出版物:1770-4.1)。
请按照相应系统级安装手册中的描述,使用该导线类别信息来规划导线布线。 | |
提供反馈