5034-IRT4I 및 5034-IRT4IXT 아날로그 4 입력 절연 RTD/TC 모듈
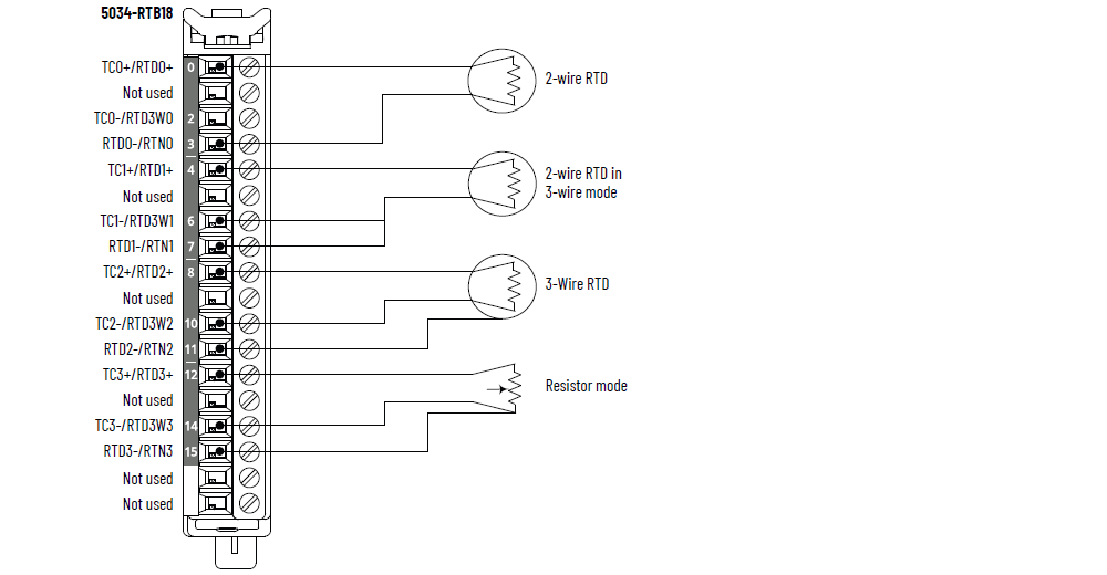
5034-IRT4I 및 5034-IRT4IXT 배선 다이어그램 – RTD 모드

5034-IRT4I 및 5034-IRT4IXT 배선 다이어그램 – 열전대 모드

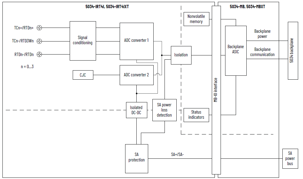
5034-IRT4I 및 5034-IRT4IXT 기능 블록 다이어그램

항목 | 5034-IRT4I, 5034-IRT4IXT |
|---|---|
저항 입력 범위 | 1~500 Ω 2~1000 Ω 4~2000 Ω 8~4000 Ω |
입력 타입 = RTD | 100, 200, 500, 1000 Ω 백금, 알파 = 385 100, 200, 500, 1000 Ω 백금, 알파 = 3916 120 Ω 니켈, 알파 = 672 100, 120, 200, 500 Ω 니켈, 알파 = 618 10 Ω 구리 427 |
입력 범위, 열전대/밀리볼트 | ±100 mV |
입력 유형 = 열전대 | B, C, D, E, J, K, N, R, S, T, TXK/XK(L) |
입력 임피던스 | Thermocouple/millivolt: > 1 MΩ RTD: > 1 MΩ |
커먼 모드 전압(채널 간) | 250V (연속), 기본 절연 |
모듈 변환 방식 | 시그마-델타, 24비트 멀티플렉스 ADC |
분해능, RTD/저항 50/60 Hz 노치 필터에서 | 16 비트 |
분해능, 열전대/밀리볼트 50/60 Hz 노치 필터에서 | 16 비트 |
RTD 여자 전류 | 1000, 2000, 4000 Ω 범위의 경우 250 μA 500 μA, 500 Ω 범위 |
열전대 선형화 | ITS-90 |
CJ 모드 | 온보드 CJC, RTB CJC, 원격 CJC |
온보드 CJC 입력 (열전대 모드 전용) | CJC 센서 5034-IRT4I 및 5034-IRT4IXT에 내장된 4개의 서미스터 Vishay NTCS0805E3103FHT |
온보드 CJC 센서 정확도 | ±3.0 °C, 0 °C < T amb < 60 °C (±5.4 °F, 32 °F
< Tamb < 140 °F)±4.0 °C, -25 °C < T amb < 0 °C (±7.2 °F, -13
°F < Tamb < 32 °F) |
RTB CJC 입력 (열전대 모드 전용) | CJC 센서 5034-RTBT 및 5034-RTBTS에 내장된 4개의 서미스터 TE Connectivity TE 10K3A1A |
RTB CJC 센서 정확도 | ±0.6 °C, 0 °C < T amb < 60 °C (±1.1 °F, 32 °F
< Tamb < 140 °F)±1.2 °C, -25 °C < T amb < 0 °C (±2.2 °F, -13
°F < Tamb < 32 °F) |
CJC 변환 방식 | 12비트 SAR |
25 °C(77 °F)에서 캘리브레이션 정확도 | 열전대/밀리볼트: 50/60Hz 필터가 있는 0.1% 전체 범위 RTD: 500Ω, 1kΩ, 2kΩ, 4kΩ 범위, 50/60Hz 필터가 있는 0.1% 전체 범위 |
전체 온도 범위에서 캘리브레이션 정확도 -25~+60 °C (-13~+140 °F) | 열전대/밀리볼트: 50/60Hz 필터가 있는 0.25% 전체 범위 RTD: 500Ω, 1kΩ, 2kΩ, 4kΩ 범위, 50/60Hz 필터가 있는 0.25% 전체 범위 |
채널 당 가장 빠른 스캔 시간 | 0.36 ms |
모듈 당 가장 빠른 스캔 시간 | 0.36 ms |
입력 노치 필터 선택(Hz) | 10, 20, 50, 60 (기본값), 100, 200, 500, 1000, 2500, 5000 |
하드웨어 입력 필터 | 1 kHz |
입력 디지털 필터 | 1차 지연, 0 ms (기본값) 0~32,767 ms (32.767초) |
정상 모드 노이즈 제거율 | 65 dB @ 50/60 Hz, 노치 필터에 따라 다름 |
단선 감지 시간 | < 200 ms |
최대 과전압 보호 | 32V DC |
Engineering 단위로 스케일링 | 예 |
실시간 채널 샘플링 | 예 |
입력의 롤링 타임스탬프 | 예 |
데이터 형식 | IEEE 754 32비트 소수 |
RTD 센서 유형 (1) | 온도 범위 |
|---|---|
100, 200, 500, 1000 Ω PT 385 | -200~+870 °C -328~+1598 °F 73~1143 K 132~2058 °R |
100, 200, 500, 1000 Ω PT 3916 | -200~+630 °C -328~+1166 °F 73~903 K 132~1626 °R |
10 Ω CU 427 | -200~+260 °C -328~+500 °F 73~533 K 132~960 °R |
120 Ω NI 672 | -80~+320 °C -112~+608 °F 193~593 K 348~1068 °R |
100, 120, 200, 500 Ω NI 618 | -60~+250 °C -76~+482 °F 193~593 K 384~942 °R |
(1) 각 센서 유형은 나열된 모든 온도 범위를 지원합니다. | |
열전대 유형 | 온도 범위 |
|---|---|
열전대 유형 B | 21~1820 °C 68~3308 °F 293~2093 K 528~3768 °R |
열전대 유형 C | 0~2315 °C 32~4199 °F 273~2588 K 492~4659 °R |
열전대 유형 D | 0~2315 °C 32~4199 °F 273~2588 K 492~4659 °R |
열전대 유형 E | -270~+1000 °C -454~+1832 °F 3~1273 K 6~2292 °R |
열전대 유형 J | -210~+1200 °C -346~+2192 °F 63~1473 K 114~2652 °R |
열전대 유형 K | -270~+1372 °C -454~+2502 °F 3~1645 K 6~2961 °R |
열전대 유형 N | -270~+1300 °C -454~+2372 °F 3~1573 K 6~2832 °R |
열전대 유형 R | -50~+1768 °C -58~+3215 °F 223~2041 K 402~3674 °R |
열전대 유형 S | -50~+1768 °C -58~+3215 °F 223~2041 K 402~3674 °R |
열전대 유형 T | -270~+400 °C -454~+752 °F 3~673 K 6~1212 °R |
열전대 유형 TXK/XK(L) | -200~+800 °C -328~+1472 °F 73~1073 K 132~1932 °R |
항목 | 5034-IRT4I, 5034-IRT4IXT |
|---|---|
입력 개수 | 4채널(4개 절연 그룹) |
공칭 SA 전원 전압 | 24V DC |
SA 전원 전압 범위 | 10~30V DC |
공칭 SA 전원 전류 | 50 mA |
SA 전원 최대 전류 | 0.1 A |
무부하 시 SA 전원 전류 | 11 mA |
SA 역극성 보호 | 예 |
최대 소비 전력 (1) | 0.42 W |
최대 열 방출 (1) | 1.43 BTU/시간 |
RTB 유형 작업 | 250V(연속), 기본 절연 유형, 시스템 - 현장 250V (연속), 기본 절연 유형, SA 전원 및 입력 포트 250V (연속), 기본 절연 유형, 개별 입력 포트 간 |
캘리브레이션 | 공장 보정됨 수동 캘리브레이션 지원, PointMax 아날로그 I/O 모듈 사용자 매뉴얼(Publication 5034-UM003) 참조 |
RIUP 지원 | 예 |
Cip sync | 있음, 슬레이브 전용 일반 클럭 |
Electronic Keying | 프로그래밍 소프트웨어를 통한 Electronic Keying |
RTB 키 위치(슬롯) | 2, 7, 10 |
RTB 지원됨 | 5034-RTB18, 5034-RTB18S, 5034-RTBT, 5034-RTBTS 정확도를 향상시키려면 5034-RTBT 및 5034-RTBTS에 내장된 CJC 서미스터를 사용하십시오. |
배선 카테고리 (2) | 2 - 신호 포트 2 - 전원 포트 |
배선 사양 | PointMax I/O 시스템 사양 기술 데이터(Publication 5034-TD001)에서 탈착식
단자대의 배선 사양을 참조하십시오. |
표시기 | 녹색/적색 모듈 상태 표시기 1개 녹색/적색 SA 전원 상태 표시기 1개 황색/적색 I/O 상태 표시기 4개 |
치수(HxWxD) | 123.6 x 15.0 x 66.4 mm (4.87 x 0.59 x 2.61 in.) |
무게 | 45.0 g (1.59 oz.) – 5034-IRT4I 48.0 g (1.69 oz.) – 5034-IRT4IXT |
외함 유형 | 없음(개방형) |
북미 온도 코드 | T4 |
UKEX/ATEX 온도 코드 | T4 |
IECEx 온도 코드 | T4 |
(1) 값은 60 °C(140 °F)에서 측정됩니다. 소비 전력은 온도에 따라 달라집니다. (2) 전도체 라우팅을 계획하려면 위의 전도체 카테고리 정보를 사용하십시오. 산업 자동화 배선 및 접지
가이드라인(Publication 1770-4.1)을 참조하십시오.
해당 시스템 레벨 설치 매뉴얼에 설명된 바에 따라 전선 연결 계획시 이 전선 분류 정보를
이용하십시오. | |
의견을 작성 부탁드립니다.