5034-OB8S 및 5034-OB8SXT 안전 디지털 8 출력 모듈
기능적 안전 애플리케이션에서 사용할 수 있는 5034-OB8S 및 5034-OB8SXT의 배선 다이어그램에 대한 자세한 예제는 PointMax 디지털
I/O 모듈 사용자 매뉴얼(Publication 5034-UM002)을 참조하십시오. 적합한 안전 애플리케이션 수준에 영향을
미칩니다. 배선 구성은 PointMax 안전 I/O 모듈이 적합한 안전 애플리케이션 레벨에 영향을 줍니다.
5034-OB8S 및 5034-OB8SXT 배선 다이어그램

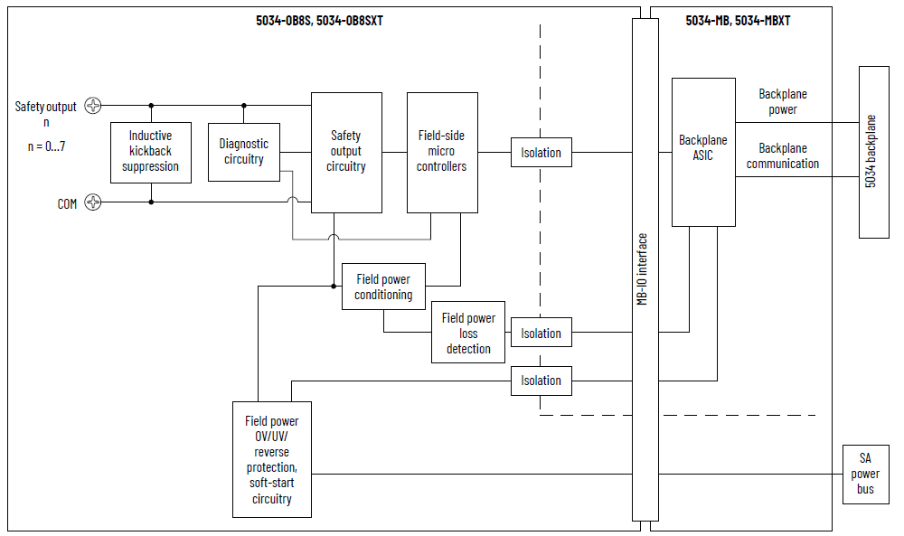
5034-OB8S 및 5034-OB8SXT 기능 블록 다이어그램

항목 | 5034-OB8S, 5034-OB8SXT |
|---|---|
온 상태 전압 범위 | 17.5~30V DC |
켜짐 상태 전압 강하(최대) | 0.5V DC @ 1 A |
최대 오프 상태 전압 | 5V DC, 최소 10kΩ 부하 |
포인트당 최대 오프 상태 누설 전류 | 0.5 mA |
포인트당 최대 출력 전류 정격 | 1 A @ 40 °C(104 °F) 0.5 A @ 60 °C(140 °F) |
모듈당 총 출력 전류 정격 | 8 A @ 40 °C(104 °F) 4 A @ 60 °C(140 °F) |
출력 당 허용되는 최대 필드 커패시턴스 제한 | 100 nF |
출력 당 허용되는 최대 필드 인덕턴스 제한 | 1.2 H @ 0.5 A |
꺼질 때 유도성 부하의 최대 출력 클램핑 전압 | 53V DC |
포인트당 최대 서지 전류 | 50ms 동안 2.4A, 2초마다 반복 가능 모듈 정격 전류는 10A를 초과할 수 없습니다. |
안전 등급 (1) | 카탈로그 넘버 4 / PL e, EN ISO 13849-1에 따름, SIL 3, IEC 61508에
따름 |
SRT | 6 ms |
최대 안전 테스트 펄스 폭 | 0.7 ms |
일반적으로 안전 테스트 펄스 기간 | 512 ms |
개방 부하 감지 진단 | Off 상태(수동으로 활성화 가능) |
출력 과부하 감지 | 있음, 일반적으로 4A |
높은 검출에 대한 출력 단락 | 안전 펄스 테스트 모드에서 있음 |
채널 간 단락 검출 | 안전 펄스 테스트 모드에서 있음 |
모듈 과열 감지 | 예 |
접지/과부하 보호에 대한 출력 단락 | 예 |
SA 공급 역전압 보호 | 예 |
최대 SA 공급 과전압 보호 | 60V DC |
(1) 안전 모듈의 안전 애플리케이션 적합성 수준 및 안전 데이터는 PointMax 디지털 I/O 모듈 사용자
매뉴얼(Publication 5034-UM002)을
참조하십시오. | |
항목 | 5034-OB8S, 5034-OB8SXT |
|---|---|
모듈 당 출력 | 8 |
출력 타입 | 소싱 |
SA 전원 공칭 작동 공급 전압 | 24V DC |
SA 전원 작동 전압 범위 | 18~30V DC |
공칭 SA 전원 전류 | 8.1 A @ 40 °C (104 °F) 4.1 A @ 60 °C (140 °F) |
최대 SA 전원 전류 | 8.1 A @ 40 °C (104 °F) 4.1 A @ 60 °C (140 °F) |
무부하 시 SA 전원 전류 | 20mA @ 24V DC |
최대 소비 전력 | 2.6 W @ 40 °C (104 °F) 1.4 W @ 60 °C (140 °F) |
최대 열 방출 | 8.87 BTU/hr @ 40 °C (104 °F) 4.78 BTU/hr @ 60 °C (140 °F) |
RTB 유형 작업 | 250V(연속), 기본 절연 유형, 시스템 - 현장 SA 전원 및 출력 포트 사이에 절연 없음 개별 출력 포트 사이에 절연 없음 |
RIUP 지원 | 예 |
Cip sync | 있음, 슬레이브 전용 일반 클럭 |
Electronic Keying | 프로그래밍 소프트웨어를 통한 Electronic Keying |
RTB 키 위치(슬롯) | 1, 5, 14 |
RTB 지원 | 5034-RTB18, 5034-RTB18S |
배선 카테고리 (1) | 2 - 신호 포트 2 - 전원 포트 |
배선 사양 | PointMax I/O 시스템 사양 기술 데이터(Publication 5034-TD001)에서 탈착식
단자대의 배선 사양을 참조하십시오. |
표시기 | 녹색/적색 모듈 상태 표시기 1개 녹색/적색 SA 전원 상태 표시기 1개 황색/적색 I/O 상태 표시기 8개 |
치수(HxWxD) | 123.6 x 15.0 x 66.4 mm (4.87 x 0.59 x 2.61 in.) |
무게 | 46.0 g (1.62 oz.) – 5034-OB8S 49.0 g (1.73 oz.) – 5034-OB8SXT |
외함 유형 | 없음(개방형) |
북미 온도 코드 | T4 |
UKEX/ATEX 온도 코드 | T4 |
IECEx 온도 코드 | T4 |
(1) 전도체 라우팅을 계획하려면 위의 전도체 카테고리 정보를 사용하십시오. 산업 자동화 배선 및 접지
가이드라인(Publication 1770-4.1)을 참조하십시오.
해당 시스템 레벨 설치 매뉴얼에 설명된 바에 따라 전선 연결 계획시 이 전선 분류 정보를
이용하십시오. | |
의견을 작성 부탁드립니다.