5034-IRT4Iおよび5034-IRT4IXT 4チャネルアナログ入力絶縁型RTD/TCモジュール
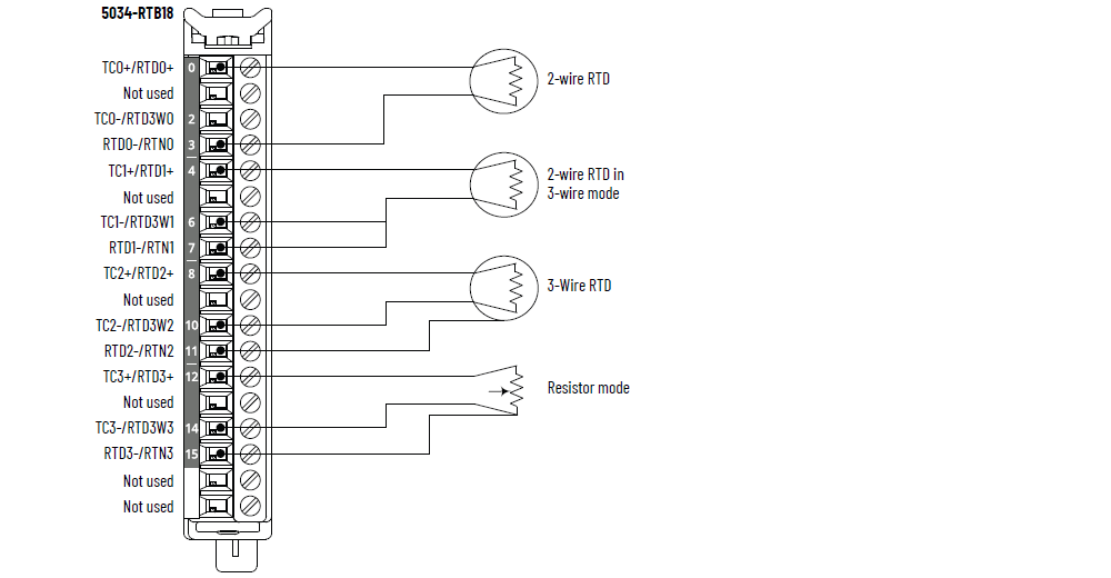
5034-IRT4Iおよび5034-IRT4IXTの配線図 – RTDモード

5034-IRT4Iおよび5034-IRT4IXTの配線図 – 熱電対モード

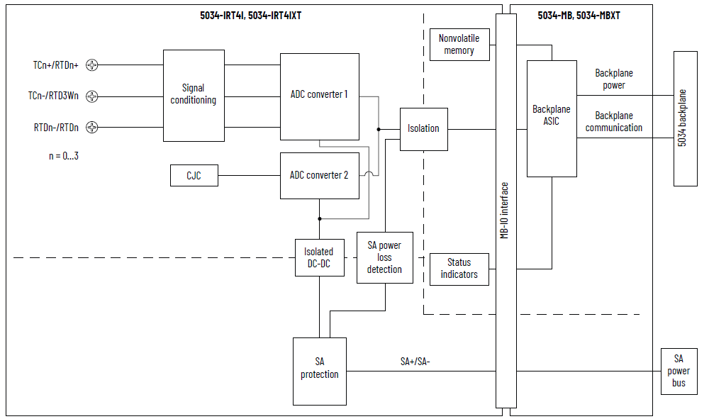
5034-IRT4Iおよび5034-IRT4IXTのファンクション・ブロック・ダイアグラム

項目 | 5034-IRT4I、5034-IRT4IXT |
|---|---|
入力抵抗範囲 | 1~500Ω 2~1000Ω 4~2000Ω 8~4000Ω |
入力タイプ、RTD | 100、200、500、1000Ωプラチナ、alpha = 385 100、200、500、1000Ωプラチナ、alpha = 3916 120Ωニッケル、alpha = 672 100、120、200、500Ωニッケル、alpha = 618 10Ω 銅427 |
入力範囲、熱電対/mV | ±100 mV |
入力タイプ、熱電対 | B、C、D、E、J、K、N、R、S、T、TXK/XK (L) |
入力インピーダンス | 熱電対/mV:> 1MΩ RTD:> 1MΩ |
コモンモード電圧(チャネル間) | 250V (連続)、基本絶縁 |
モジュールの変換方法 | シグマデルタ、24ビット多重ADC |
分解能、RTD/抵抗 ノッチフィルタ50/60Hzのとき | 16ビット |
分解能、熱電対/mV ノッチフィルタ50/60Hzのとき | 16ビット |
RTD励起電流 | 1000、2000、4000Ω範囲の場合は250µA 500Ω範囲の場合は500µA |
熱電対の線形化 | ITS-90 |
CJモード | オンボードCJC、RTB CJC、リモートCJC |
オンボードCJC入力 (熱電対モード専用) | CJCセンサ 5034-IRT4Iおよび5034-IRT4IXTに内蔵された4つのサーミスタ Vishay NTCS0805E3103FHT |
オンボードCJCセンサの精度 | ±3.0°C、0°C < T amb < 60°C (±5.4°F、32°F < Tamb < 140°F)±4.0°C、-25°C < T amb < 0°C (±7.2°F、-13°F < Tamb < 32°F) |
RTB CJC入力 (熱電対モード専用) | CJCセンサ 5034-RTBTおよび5034-RTBTSに内蔵された4つのサーミスタ TE Connectivity TE 10K3A1A |
RTB CJCセンサ精度 | ±0.6°C、0°C < T amb < 60°C (±1.1°F、32°F < Tamb < 140°F)±1.2°C、-25°C < T amb < 0°C (±2.2°F、-13°F < Tamb < 32°F) |
CJC変換方法 | 12ビットSAR |
キャリブレーション精度(25°C (77°F)) | 熱電対/mV:50/60Hzフィルタありでフルスケールの0.1% RTD:500Ω、1kΩ、2kΩ、4kΩレンジ、50/60Hzフィルタありでフルスケールの0.1% |
フル温度範囲のキャリブレーション精度 -25~+60°C (-13~+140°F) | 熱電対/mV:50/60Hzフィルタありでフルスケールの0.25% RTD:500Ω、1kΩ、2kΩ、4kΩレンジ、50/60Hzフィルタありでフルスケールの0.25% |
チャネル当たりの最速スキャンタイム | 0.36msec |
モジュール当たりの最速スキャンタイム | 0.36msec |
入力ノッチフィルタの選択(Hz) | 10、20、50、60 (デフォルト)、100、200、500、 1000、2500、5000 |
ハードウェア入力フィルタ | 1kHz |
入力デジタルフィルタ | 一次遅れ、0msec (デフォルト) 0~32,767msec (32.767sec) |
通常モードノイズ除去比 | 50/60Hzのとき65dB、ノッチフィルタによって異なる |
開配線状態の検出時間 | < 200msec |
過電圧保護(最大) | DC32V |
工学単位へのスケーリング | あり |
リアルタイム・チャネル・サンプリング | あり |
入力の循環型タイムスタンプ | あり |
データ形式 | IEEE 754 32ビット浮動小数点 |
RTDセンサタイプ (1) | 温度範囲 |
|---|---|
100、200、500、1000Ω PT 385 | -200~+870°C -328~+1598°F 73~1143K 132~2058°R |
100、200、500、1000Ω PT 3916 | -200~+630°C -328~+1166°F 73~903K 132~1626°R |
10Ω CU 427 | -200~+260°C -328~+500°F 73~533K 132~960°R |
120Ω NI 672 | -80~+320°C -112~+608°F 193~593K 348~1068°R |
100、120、200、500Ω NI 618 | -60~+250°C -76~+482°F 213~523K 384~942°R |
(1)各センサタイプは、記載されているすべての温度範囲をサポートしています。 | |
熱電対タイプ | 温度範囲 |
|---|---|
熱電対タイプB | 21~1820°C 68~3308°F 293~2093K 528~3768°R |
熱電対タイプC | 0~2315°C 32~4199°F 273~2588K 492~4659°R |
熱電対タイプD | 0~2315°C 32~4199°F 273~2588K 492~4659°R |
熱電対タイプE | -270~+1000°C -454~+1832°F 3~1273K 6~2292°R |
熱電対タイプJ | -210~+1200°C -346~+2192°F 63~1473K 114~2652°R |
熱電対タイプK | -270~+1372°C -454~+2502°F 3~1645K 6~2961°R |
熱電対タイプN | -270~+1300°C -454~+2372°F 3~1573K 6~2832°R |
熱電対タイプR | -50~+1768°C -58~+3215°F 223~2041K 402~3674°R |
熱電対タイプS | -50~+1768°C -58~+3215°F 223~2041K 402~3674°R |
熱電対タイプT | -270~+400°C -454~+752°F 3~673K 6~1212°R |
熱電対タイプTXK/XK(L) | -200~+800°C -328~+1472°F 73~1073K 132~1932°R |
項目 | 5034-IRT4I、5034-IRT4IXT |
|---|---|
入力数 | 4チャネル(4つの絶縁グループ) |
SA電源電圧(公称) | DC24V |
SA電源電圧範囲 | DC10~30V |
SA電源電流(公称) | 50mA |
SA電源電流(最大) | 0.1A |
SA電源電流(負荷なし) | 11mA |
SA逆極性保護 | あり |
最大消費電力 (1) | 0.42W |
最大熱放散 (1) | 1.43BTU/hr |
絶縁電圧 | 250V (連続)、基本絶縁タイプ、システムからフィールド 250V (連続)、基本絶縁タイプ、SA電源と入力ポート間 250V (連続)、基本絶縁タイプ、個々の入力ポート間 |
キャリブレーション | 工場出荷時キャリブレーション済み サポートされている手動キャリブレーションについては、『PointMax アナログI/Oモジュールユーザーズマニュアル』
(Pub.No. 5034-UM003)を参照 |
RIUPサポート | あり |
CIP Sync | あり、スレーブ専用通常クロック |
電子キーイング | プログラミングソフトウェアを使用した電子キーイング |
RTBキー位置(スロット) | 2、7、10 |
サポートされるRTB | 5034-RTB18、5034-RTB18S、5034-RTBT、5034-RTBTS 精度を高めるには、5034-RTBTおよび5034-RTBTSに内蔵されているCJCサーミスタを使用します。 |
配線カテゴリ (2) | 2 - 信号ポート 2 - 電源ポート |
配線仕様 | 『PointMax I/Oシステムの仕様テクニカルデータ』 (Pub. No. 5034-TD001)の「脱着式端子台の配線仕様」を参照 |
インジケータ | 緑色/赤色のモジュール・ステータス・インジケータx1 緑色/赤色のSA電源ステータスインジケータx1 黄色/赤色のI/Oステータスインジケータx4 |
概算寸法(HxWxD) | 123.6 x 15.0 x 66.4mm (4.87 x 0.59 x 2.61インチ) |
概算重量 | 45.0g (1.59オンス) – 5034-IRT4I 48.0g (1.69オンス) – 5034-IRT4IXT |
エンクロージャタイプ | なし(開放型) |
北米温度コード | T4 |
UKEX/ATEX温度コード | T4 |
IECEx温度コード | T4 |
(1)値は60°C (140°F)で測定したものです。 消費電力は温度によって変わります。 (2)この導線カテゴリ情報を使用して、導線の敷設を計画してください。 『配線と接地のガイドライン』(Pub.No.
1770-4.1)を参照してください。
導線の敷設を計画する際には、該当するシステムレベルの設置マニュアルでの説明に従って、以下の導線カテゴリ情報を参考にしてください。 | |
ご質問やご意見