5034-OB8Sおよび5034-OB8SXT 8点安全デジタル出力モジュール
機能安全アプリケーションで使用できる5034-OB8Sおよび5034-OB8SXTの配線図の例については、『PointMaxデジタルI/Oモジュールユーザーズマニュアル』(Pub.No.
5034-UM002)を参照してください。 配線構成は、
PointMax安全I/Oモジュールの安全アプリケーションレベルに影響します。
5034-OB8Sおよび5034-OB8SXTの配線図

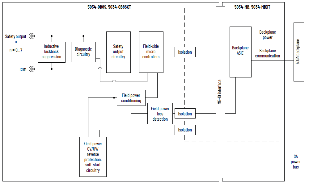
5034-OB8Sおよび5034-OB8SXTのファンクション・ブロック・ダイアグラム

項目 | 5034-OB8S、5034-OB8SXT |
---|---|
オン時電圧範囲 | DC17.5~30V |
オン時最大電圧降下 | 1AのときDC0.5V |
オフ時最大電圧 | DC5V、最小負荷10kΩ |
1点当たりのオフ時最大漏れ電流 | 0.5mA |
1点当たりの最大出力電流定格 | 40°C (104°F)のとき1A 60°C (140°F)のとき0.5A |
モジュール当たりの合計出力電流定格 | 40°C (104°F)のとき8A 60°C (140°F)のとき4A |
出力当たりの最大許容フィールド静電容量 | 100nF |
出力当たりの最大許容フィールドインダクタンス | 0.5Aのとき1.2H |
遮断時の誘導負荷の最大出力クランプ電圧 | DC53V |
1点当たりの最大サージ電流 | 50msecで2.4A、2secごとに繰返し可能 モジュールの電流定格が10Aを超えることはできません。 |
安全クラス (1) | EN ISO 13849-1に準拠した カテゴリ4/PL eまで、 IEC 61508に準拠した SIL 3まで |
SRT | 6msec |
最大安全テストパルス幅 | 0.7msec |
標準安全テストパルス周期 | 512msec |
オープン負荷検出診断 | オフ状態(手動で有効にできる) |
出力過負荷検出 | あり、4A標準 |
出力High短絡検出 | あり(安全パルス・テスト・モード) |
チャネル間短絡検出 | あり(安全パルス・テスト・モード) |
モジュールの温度超過検出 | あり |
出力のグラウンドへの短絡/過負荷保護 | あり |
SA電源の逆電圧保護 | あり |
SA電源の過電圧保護(最大) | DC60V |
(1)安全モジュールの安全アプリケーション適合性レベルおよび安全データについては、『PointMaxデジタルI/Oモジュールユーザーズマニュアル』(Pub.No.
5034-UM002)を参照してください。 |
項目 | 5034-OB8S、5034-OB8SXT |
---|---|
モジュール当たりの出力 | 8 |
出力タイプ | ソース |
SA電源の公称動作電源電圧 | DC24V |
SA電源の動作電圧範囲 | DC18~30V |
SA電源電流(公称) | 40°C (104°F)のとき8.1A 60°C (140°F)のとき4.1A |
SA電源電流(最大) | 40°C (104°F)のとき8.1A 60°C (140°F)のとき4.1A |
SA電源電流(負荷なし) | DC24Vのとき20mA |
最大消費電力 | 40°C (104°F)のとき2.6W 60°C (140°F)のとき1.4W |
最大熱放散 | 40°C (104°F)のとき8.87BTU/hr 60°C (140°F)のとき4.78BTU/hr |
絶縁電圧 | 250V (連続)、基本絶縁タイプ、システムからフィールド SA電源と出力ポート間の絶縁なし 個々の出力ポート間の絶縁なし |
RIUPサポート | あり |
CIP Sync | あり、スレーブ専用通常クロック |
電子キーイング | プログラミングソフトウェアを使用した電子キーイング |
RTBキー位置(スロット) | 1、5、14 |
サポートされるRTB | 5034-RTB18、5034-RTB18S |
配線カテゴリ (1) | 2 - 信号ポート 2 - 電源ポート |
配線仕様 | 『PointMax I/Oシステムの仕様テクニカルデータ』(Pub. No. 5034-TD001)の「脱着式端子台の配線仕様」を参照 |
インジケータ | 緑色/赤色のモジュール・ステータス・インジケータx1 緑色/赤色のSA電源ステータスインジケータx1 黄色/赤色のI/Oステータスインジケータx8 |
概算寸法(HxWxD) | 123.6 x 15.0 x 66.4mm (4.87 x 0.59 x 2.61インチ) |
概算重量 | 46.0g (1.62オンス) – 5034-OB8S 49.0g (1.73オンス) – 5034-OB8SXT |
エンクロージャタイプ | なし(開放型) |
北米温度コード | T4 |
UKEX/ATEX温度コード | T4 |
IECEx温度コード | T4 |
(1)この導線カテゴリ情報を使用して、導線の敷設を計画してください。 『配線と接地のガイドライン』(Pub. No.
1770-4.1)を参照してください。
導線の敷設を計画する際には、該当するシステムレベルの設置マニュアルでの説明に従って、以下の導線カテゴリ情報を参考にしてください。 |
ご質問やご意見