Moduli a 8 uscite digitali di sicurezza 5034-OB8S e 5034-OB8SXT
Per ulteriori esempi di schemi di cablaggio dei moduli 5034-OB8S e 5034-OB8SXT che
possono essere utilizzati in applicazioni di sicurezza funzionale, consultare Moduli
PointMax I/O digitali Manuale dell’utente, pubblicazione 5034-UM002. La configurazione di cablaggio
influisce sul livello delle applicazioni di sicurezza per cui un modulo PointMax I/O
di sicurezza è idoneo.
Schema di cablaggio 5034-OB8S e 5034-OB8SXT

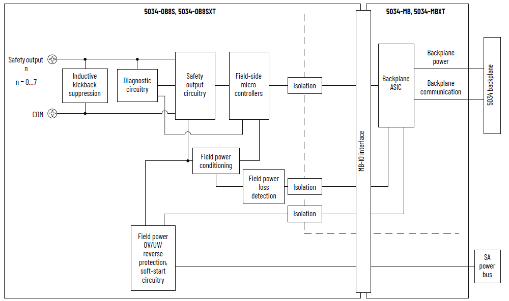
Schema a blocchi funzione di 5034-OB8S e 5034-OB8SXT

Attributo | 5034-OB8S, 5034-OB8SXT |
|---|---|
Campo tensione stato On | 17,5…30 V CC |
Caduta di tensione stato on, max | 0,5 V CC, 1 A |
Tensione di stato off, max | 5 V CC con 10 kΩ minimo di carico |
Corrente di dispersione stato off per punto, max | 0,5 mA |
Corrente nominale di uscita per punto, max | 1 A a 40 °C 0,5 A a 60 °C |
Corrente nominale di uscita per modulo, totale | 8 A a 40 °C 4 A a 60 °C |
Limite capacità di campo consentito per uscita, max | 100 nF |
Limite induttanza di campo consentito per uscita, max | 1,2 H a 0,5 A |
Tensione di limitazione in uscita per carico induttivo
durante spegnimento, max | 53 V CC |
Corrente di picco per punto, max | 2,4 A per 50 ms, ripetibile ogni 2 s La corrente nominale del modulo non può superare i 10 A. |
Classe di sicurezza (1) | Fino a Cat. 4/PL e secondo EN ISO 13849-1, SIL 3 secondo IEC
61508 |
SRT | 6 ms |
Larghezza di impulso di prova di sicurezza, max | 0,7 ms |
Periodo di prova di sicurezza a impulsi, tipico | 512 ms |
Diagnostica rilevamento carico aperto | Stato Off (può essere abilitato manualmente) |
Rilevamento sovraccarico di uscita | Sì, 4 A tipico |
Rilevamento cortocircuito uscita verso positivo | Sì in modalità di test a impulsi di sicurezza |
Rilevamento di cortocircuito tra canali | Sì in modalità di test a impulsi di sicurezza |
Rilevamento sovratemperatura modulo | Sì |
Protezione da cortocircuito verso terra/sovraccarico | Sì |
Protezione da tensione inversa alimentazione SA | Sì |
Protezione da sovratensione alimentazione SA, max | 60 V CC |
(1) Consultare Moduli digitali PointMax I/O Manuale
dell’utente, pubblicazione 5034-UM002, per i
livelli di idoneità delle applicazioni di sicurezza e i dati
di sicurezza dei moduli di sicurezza. | |
Attributo | 5034-OB8S, 5034-OB8SXT |
|---|---|
Uscite per modulo | 8 |
Tipo di uscita | Sourcing |
Tensione nominale di alimentazione SA | 24 V CC |
Gamma tensione di funzionamento alimentazione SA | 18…30 V CC |
Corrente alimentazione SA, nom | 8,1 A a 40 °C 4,1 A a 60 °C |
Corrente alimentazione SA, max | 8,1 A a 40 °C 4,1 A a 60 °C |
Corrente di alimentazione SA senza carico | 20 mA a 24 V CC |
Dissipazione di potenza, max | 2,6 W a 40 °C 1,4 W a 60 °C |
Dissipazione termica, max | 8,87 BTU/h a 40 °C 4,78 BTU/h a 60 °C |
Tensione di isolamento | 250 V (continua), tipo di isolamento base, da sistema a
campo Nessun isolamento tra alimentazione SA e porte di uscita Nessun isolamento tra le singole porte di uscita |
Supporto RIUP | Sì |
CIP Sync | Sì, orologio ordinario solo slave |
Codifica elettronica | Codifica elettronica tramite software di programmazione |
Posizioni chiavetta RTB (slot) | 1, 5, 14 |
Morsettiera rimovibile supportata | 5034-RTB18, 5034-RTB18S |
Categoria cablaggio (1) | 2 - Porte di segnale 2 - Porte di alimentazione |
Specifiche di cablaggio | Vedere Specifiche di cablaggio delle morsettiere rimovibili
in Specifiche del sistema PointMax I/O Dati tecnici,
pubblicazione 5034-TD001 |
Indicatori | 1 indicatore verde/rosso di stato modulo 1 indicatore di stato verde/rosso per alimentazione SA 8 indicatori di stato giallo/rosso per I/O |
Dimensioni (AxLxP), circa | 123,6 x 15,0 x 66,4 mm |
Peso approssimativo | 46 g – 5034-OB8S 49 g – 5034-OB8SXT |
Tipo custodia | Nessuna (tipo aperto) |
Codice di temperatura nordamericano | T4 |
Codice temperatura UKEX/ATEX | T4 |
Codice temperatura IECEx | T4 |
(1) Pianificare la posa dei conduttori in base a queste
informazioni sulla categoria. Consultare "Criteri per il
cablaggio e la messa a terra in automazione industriale",
pubblicazione 1770-4.1. Usare le
informazioni sulla categoria dei conduttori qui riportate
per pianificare l’instradamento dei conduttori in conformità
alle descrizioni riportate nel manuale di installazione di
sistema appropriato. | |
Fornire un feedback