Moduli a 4 ingressi isolati analogici RTD/TC 5034-IRT4I e 5034-IRT4IXT
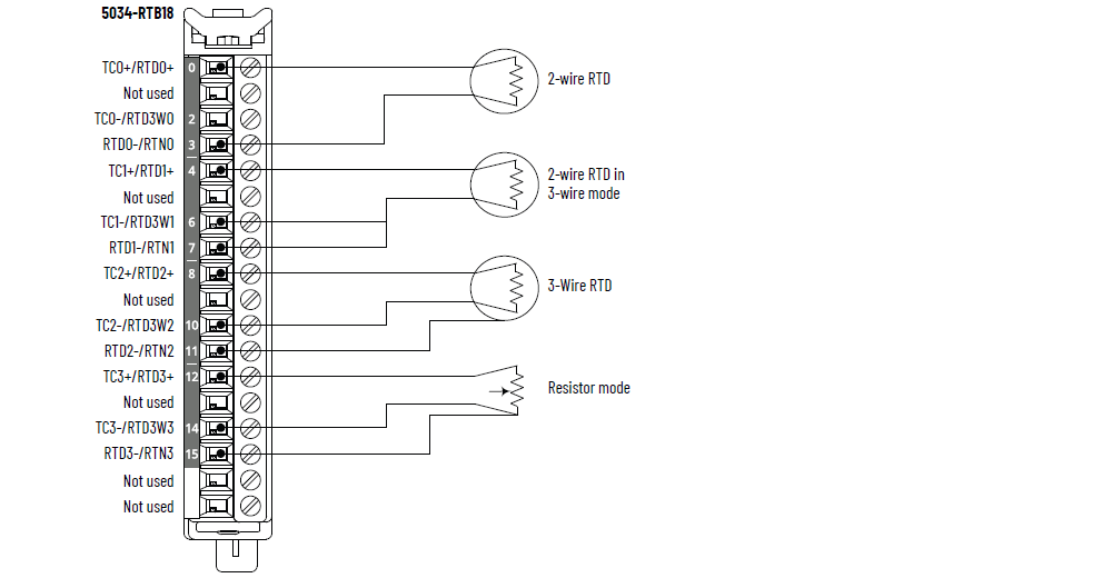
Schema di cablaggio 5034-IRT4I e 5034-IRT4IXT – Modalità RTD

Schema di cablaggio 5034-IRT4I e 5034-IRT4IXT – Modalità termocoppia

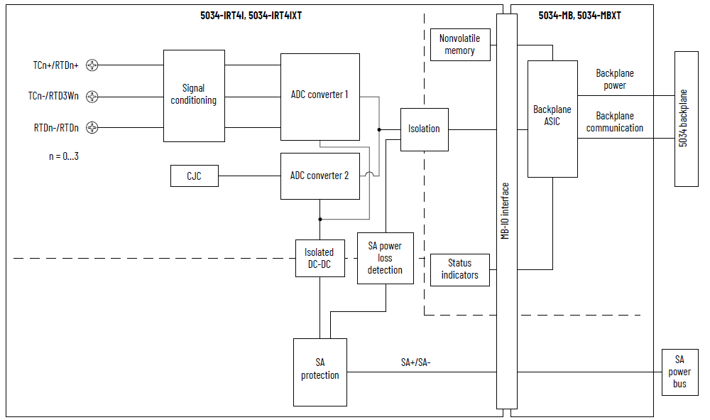
Schema a blocchi funzione 5034-IRT4I e 5034-IRT4IXT

Attributo | 5034-IRT4I, 5034-IRT4IXT |
|---|---|
Intervallo di ingresso, resistenza | 1…500 Ω 2…1000 Ω 4…2000 Ω 8…4000 Ω |
Tipo di ingresso, RTD | 100, 200, 500, 1000 Ω platino, alfa = 385 100, 200, 500, 1000 Ω platino, alfa = 3916 120 Ω nichel, alfa = 672 100, 120, 200, 500 Ω nichel, alfa = 618 10 Ω rame 427 |
Gamma di ingresso, termocoppia/millivolt | ±100 mV |
Tipo di ingresso, termocoppia | B, C, D, E, J, K, N, R, S, T, TXK/XK(L) |
Impedenza di ingresso | Termocoppia/millivolt: > 1 MΩ RTD: > 1 MΩ |
Tensione di modo comune (da canale a canale) | 250 V (continua), isolamento di base |
Metodo di conversione modulo | Sigma-delta, ADC 24-bit multiplex |
Risoluzione, RTD/resistiva Filtro notch a 50/60 Hz | 16 bit |
Risoluzione, termocoppia/millivolt Filtro notch a 50/60 Hz | 16 bit |
Corrente di eccitazione RTD | 250 μA per gamma 1000, 2000, 4000 Ω 500 μA per gamma 500 Ω |
Linearizzazione della termocoppia | ITS-90 |
Modalità CJ | CJC integrata, morsettiera rimovibile con CJC, CJC remota |
Ingressi CJC integrati (solo per la modalità termocoppia) | Sensori CJC Quattro termistori integrati nei moduli 5034-IRT4I e 5034-IRT4IXT Vishay NTCS0805E3103FHT |
Precisione sensore CJC integrato | ±3,0 °C, 0 °C < T amb < 60 °C (±5,4 °F, 32 °F < Tamb < 140 °F)±4,0 °C, -25 °C < T amb < 0 °C (±7,2 °F, -13 °F < Tamb < 32 °F) |
Ingressi morsettiera rimovibile on CJC (solo per la modalità termocoppia) | Sensori CJC Quattro termistori integrati in 5034-RTBT e 5034-RTBTS TE Connectivity TE 10K3A1A |
Precisione del sensore della morsettiera con CJC | ±0,6 °C, 0 °C < T amb < 60 °C (±1,1 °F, 32 °F < Tamb < 140 °F)±1,2 °C, -25 °C < T amb < 0 °C (±2,2 °F, -13 °F < Tamb < 32 °F) |
Metodo di conversione CJC | SAR a 12 bit |
Precisione da calibrato a 25 °C | Termocoppia/millivolt: 0,1% scala intera con filtro 50/60 Hz RTD: gamma 500 Ω, 1 kΩ, 2 kΩ, 4 kΩ, 0,1% scala intera con filtro 50/60 Hz |
Precisione calibrata su gamma di temperatura intera Da -25 a +60 °C | Termocoppia/millivolt: 0,25% scala intera con filtro 50/60 Hz RTD: gamma 500 Ω, 1 kΩ, 2 kΩ, 4 kΩ, 0,25% scala intera con filtro 50/60 Hz |
Tempo di scansione più rapido per canale | 0,36 ms |
Tempo di scansione più rapido per modulo | 0,36 ms |
Selezioni filtro notch di ingresso (Hz) | 10, 20, 50, 60 (default), 100, 200, 500, 1000, 2500, 5000 |
Filtro di ingresso hardware | 1 kHz |
Filtro ingresso digitale | Ritardo primo ordine, 0 ms (default) 0...32.767 ms (32,767 s) |
Rapporto di reiezione di modo normale | 65 dB a 50/60 Hz, a seconda del filtro notch |
Rilevamento collegamento interrotto | < 200 ms |
Protezione da sovratensione, max | 32 V CC |
Conversione in unità ingegneristiche | Sì |
Campionamento canali in tempo reale | Sì |
Registrazione cronologica ciclica degli ingressi | Sì |
Formato dati | IEEE 754 Virgola mobile a 32 bit |
Tipi di sensore RTD (1) | Gamma di temperatura |
|---|---|
100, 200, 500, 1000 Ω PT 385 | -200…+870 °C -328…+1598 °F 73…1143 K 132…2058 °R |
100, 200, 500, 1000 Ω PT 3916 | -200…+630 °C -328…+1166 °F 73…903 K 132…1626 °R |
10 Ω CU 427 | -200…+260 °C -328…+500 °F 73…533 K 132…960 °R |
120 Ω NI 672 | -80…+320 °C -112…+608 °F 193…593 K 348…1068 °R |
100, 120, 200, 500 Ω NI 618 | -60…+250 °C -76…+482 °F 213…523 K 384…942 °R |
(1) Ogni tipo di sensore supporta tutte le gamme di temperatura elencate. | |
Tipo di termocoppia | Gamma di temperatura |
|---|---|
Termocoppia tipo B | 21…1820 °C 68…3308 °F 293…2093 K 528…3768 °R |
Termocoppia tipo C | 0…2315 °C 32…4199 °F 273…2588 K 492…4659 °R |
Tipo termocoppia J | 0…2315 °C 32…4199 °F 273…2588 K 492…4659 °R |
Termocoppia tipo E | -270…+1000 °C -454…+1832 °F 3…1273 K 6…2292 °R |
Tipo termocoppia J | -210…+1200 °C -346…+2192 °F 63…1473 K 114…2652 °R |
Termocoppia tipo K | -270…+1372 °C -454…+2502 °F 3…1645 K 6…2961 °R |
Termocoppia tipo N | -270…+1300 °C -454…+2372 °F 3…1573 K 6…2832 °R |
Termocoppia tipo R | -50…+1768 °C -58…+3215 °F 223…2041 K 402…3674 °R |
Termocoppia tipo S | -50…+1768 °C -58…+3215 °F 223…2041 K 402…3674 °R |
Termocoppia tipo T | -270…+400 °C -454…+752 °F 3…673 K 6…1212 °R |
Termocoppia tipo TXK/XK (L) | -200…+800 °C -328…+1472 °F 73…1073 K 132…1932 °R |
Attributo | 5034-IRT4I, 5034-IRT4IXT |
|---|---|
Numero di ingressi | 4 canali (4 gruppi isolati) |
Tensione di alimentazione SA, nom | 24 V CC |
Gamma di tensione alimentazione SA | 10…30 V CC |
Corrente alimentazione SA, nom | 50 mA |
Corrente alimentazione SA, max | 0,1 A |
Corrente di alimentazione SA senza carico | 11 mA |
Protezione da inversione di polarità SA | Sì |
Dissipazione di potenza, max (1) | 0,42 W |
Dissipazione termica, max (1) | 1,43 BTU/hr |
Tensione di isolamento | 250 V (continua), tipo di isolamento base, da sistema a campo 250 V (continua), tipo di isolamento base tra alimentazione SA e porte ingressi 250V (continua), tipo di isolamento base, tra singole porte ingressi |
Calibrazione | Calibrato in fabbrica Calibrazione manuale supportata, vedere Moduli PointMax I/O
analogici Manuale dell'utente, pubblicazione 5034-UM003 |
Supporto RIUP | Sì |
CIP Sync | Sì, orologio ordinario solo slave |
Codifica elettronica | Codifica elettronica tramite software di programmazione |
Posizioni chiavetta RTB (slot) | 2, 7, 10 |
Morsettiera rimovibile supportata | 5034-RTB18, 5034-RTB18S, 5034-RTBT, 5034-RTBTS Per ottenere una migliore precisione, utilizzare i termistori CJC integrati nei moduli 5034-RTBT e 5034-RTBTS. |
Categoria cablaggio (2) | 2 – Porte di segnale 2 – Porte di alimentazione |
Specifiche di cablaggio | Vedere Specifiche di cablaggio delle morsettiere rimovibili
in Specifiche del sistema PointMax I/O Dati tecnici,
pubblicazione 5034-TD001 |
Indicatori | 1 indicatore verde/rosso di stato del modulo 1 indicatore verde/rosso di stato alimentazione SA 4 indicatori giallo/rosso di stato I/O |
Dimensioni (AxLxP), circa | 123,6 x 15,0 x 66,4 mm |
Peso approssimativo | 45 g – 5034-IRT4I 48 g – 5034-IRT4IXT |
Tipo custodia | Nessuna (Tipo aperto) |
Codice di temperatura nordamericano | T4 |
Codice temperatura UKEX/ATEX | T4 |
Codice temperatura IECEx | T4 |
(1) Il valore viene misurato a 60 °C. La dissipazione di potenza varia in base alla temperatura. (2) Pianificare la posa dei conduttori in base a queste
informazioni sulla categoria. Consultare "Criteri per il
cablaggio e la messa a terra in automazione industriale",
pubblicazione 1770-4.1. Usare le
informazioni sulla categoria dei conduttori qui riportate
per pianificare l’instradamento dei conduttori in conformità
alle descrizioni riportate nel manuale di installazione di
sistema appropriato. | |
Fornire un feedback