Modules à 8 sorties TOR de sécurité 5034-OB8S et 5034-OB8SXT
Pour davantage d’exemples de schémas de câblage pour les modules 5034-OB8S et
5034-OB8SXT pouvant être utilisés dans des applications de sécurité fonctionnelle,
consultez la publication 5034-UM002, « PointMax Digital I/O Modules
User Manual ». La configuration du câblage affecte le niveau de sécurité de
l’application auquel un module d’E/S de sécurité PointMax convient.
Schéma de câblage 5034-OB8S et 5034-OB8SXT

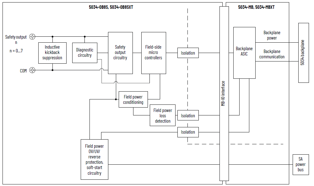
Schéma fonctionnel 5034-OB8S et 5034-OB8SXT

Attribut | 5034-OB8S, 5034-OB8SXT |
---|---|
Plage de tension à l’état passant | 17,5 à 30 V c.c. |
Chute de tension à l’état passant, max. | 0,5 V c.c. sous 1 A |
Tension à l’état bloqué, max. | 5 V c.c. avec une charge min. de 10 kΩ |
Courant de fuite à l’état bloqué par point, max. | 0,5 mA |
Courant nominal de sortie par point, max. | 1 A sous 40 °C (104 °F) 0,5 A sous 60 °C (140 °F) |
Courant nominal de sortie par module, total | 8 A sous 40 °C (104 °F) 4 A sous 60 °C (140 °F) |
Limite de capacitance de champ autorisée par sortie, max. | 100 nF |
Limite d’inductance de champ autorisée par sortie, max. | 1,2 H sous 0,5 A |
Tension de blocage de sortie pour charge inductive en cas de
désactivation, max. | 53 V c.c. |
Courant d’appel par point, max. | 2,4 A pendant 50 ms, répétable toutes les 2 s Le courant nominal du module ne peut pas dépasser 10 A. |
Classe de sécurité (1) | Jusqu’à et en incluant la Cat. 4 / PL e selon EN ISO 13849-1,
SIL 3 selon IEC 61508 |
SRT | 6 ms |
Largeur d’impulsion de test de sécurité, max. | 0,7 ms |
Période d’impulsion de test de sécurité, type | 512 ms |
Diagnostics de détection de charge ouverte | État désactivé (peut être activé manuellement) |
Détection de surcharge de sortie | Oui, 4 A type |
Court-circuit de sortie avec la détection haute | Oui en mode de test de sécurité par impulsion |
Détection de court-circuit entre voies | Oui en mode de test de sécurité par impulsion |
Détection de surchauffe du module | Oui |
Court-circuit à la terre/protection contre les surcharges de
la sortie | Oui |
Protection contre l’inversion de tension de l’alimentation
SA | Oui |
Protection contre les surtensions de l’alimentation SA,
max. | 60 V c.c. |
(1) Consultez la publication 5034-UM002,
« PointMax Digital I/O Modules User Manual » pour connaître
les niveaux de conformité des applications de sécurité et
les données de sécurité pour les modules de sécurité. |
Attribut | 5034-OB8S, 5034-OB8SXT |
---|---|
Sorties par module | 8 |
Type de sortie | PNP |
Tension d’alimentation SA nominale en fonctionnement | 24 V c.c. |
Plage de tension de fonctionnement de l’alimentation SA | 18 à 30 V c.c. |
Courant de l’alimentation SA, nom. | 8,1 A sous 40 °C (104 °F) 4,1 A sous 60 °C (140 °F) |
Courant de l'alimentation SA, max. | 8,1 A sous 40 °C (104 °F) 4,1 A sous 60 °C (140 °F) |
Courant de l’alimentation SA sans charge | 20 mA sous 24 V c.c. |
Dissipation de puissance max. | 2,6 W à 40 °C (104 °F) 1,4 W à 60 °C (140 °F) |
Dissipation de chaleur, max. | 8,87 BTU/h à 40 °C (104 °F) 4,78 BTU/h à 60 °C (140 °F) |
Tension d’isolement | 250 V (permanent), type d'isolement de base, système vers
terrain Aucun isolement entre l’alimentation SA et les ports de
sortie Aucune isolation entre chaque port de sortie |
Prise en charge du retrait et de l’insertion sous tension | Oui |
CIP Sync | Oui, horloge ordinaire esclave uniquement |
Détrompage électronique | Détrompage électronique via un logiciel de programmation |
Positions de détrompage du bornier débrochable (logement) | 1, 5, 14 |
Bornier débrochable pris en charge | 5034-RTB18, 5034-RTB18S |
Catégorie de câblage (1) | 2 - Ports de signal 2 - Ports d’alimentation |
Caractéristique du câblage | Reportez-vous aux caractéristiques de câblage pour les
borniers débrochables dans la publication 5034-TD001,
« Caractéristiques du système PointMax I/O Données
techniques » |
Indication | 1 voyant d’état du module vert/rouge 1 voyant d’état de l’alimentation SA vert/rouge 8 voyants d’état d’E/S jaunes/rouges |
Dimensions approx. (H x L x P) | 123,6 x 15,0 x 66,4 mm (4,87 x 0,59 x 2,61 in.) |
Poids, approx. | 46,0 g (1,62 oz.) – 5034-OB8S 49,0 g (1,73 oz.) – 5034-OB8SXT |
Type de boîtier | Aucun (à raccordement libre) |
Code de température nord-américain | T4 |
Code de température UKEX/ATEX | T4 |
Code de température IECEx | T4 |
(1) Utilisez cette information de catégorie de conducteur
pour planifier l’acheminement des fils. Consultez la
publication 1770-4.1,
« Industrial Automation Wiring and Grounding Guidelines ».
Utilisez cette information sur la catégorie de conducteur
pour planifier l’acheminement des conducteurs, tel que
décrit dans la notice d’installation de niveau système
appropriée. |
Fournir une réponse