Módulos de 8 salidas digitales de seguridad 5034-OB8S y 5034-OB8SXT
Para obtener más ejemplos de diagramas de cableado de 5034-OB8S y 5034-OB8SXT que se
pueden utilizar en aplicaciones de seguridad funcional, consulte el Manual del
usuario – Módulos de E/S digitales PointMax, publicación 5034-UM002. La configuración del cableado
afecta al nivel de la aplicación de seguridad para la que es adecuado un módulo de
seguridad PointMax.
Diagrama de cableado de los módulos 5034-OB8S y 5034-OB8SXT

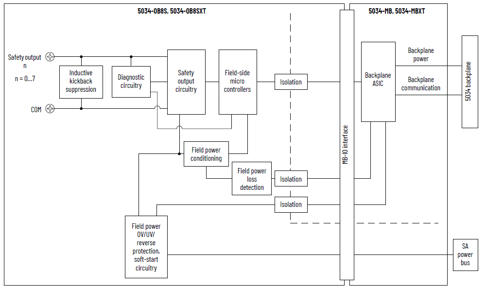
Diagrama de bloques de funciones de los módulos 5034-OB8S y
5034-OB8SXT

Atributo | 5034-OB8S, 5034-OB8SXT |
---|---|
Rango de voltajes en estado activado | 17.5…30 VCC |
Caída de tensión de estado activado, máx. | 0.5 VCC a 1 A |
Voltaje de estado desactivado, máx. | 5 VCC con 10 kΩ de carga mín. |
Corriente de fuga en estado desactivado, por punto, máx. | 0.5 mA |
Corriente de salida nominal por punto, máx. | 1 A a 40 °C (104 °F) 0.5 A a 60 °C (140 °F) |
Corriente de salida nominal por módulo, total | 8 A a 40 °C (104 °F) 4 A a 60 °C (140 °F) |
Límite de capacitancia de campo permitido por salida,
máx. | 100 nF |
Límite de inductancia de campo permitido por salida, máx. | 1.2 H a 0.5 A |
Voltaje de fijación de salida para carga inductiva cuando se
desactiva, máx. | 53 VCC |
Corriente pico por punto, máx. | 2.4 A durante 50 ms, repetible cada 2 s La corriente nominal del módulo no puede superar los
10 A. |
Clase de seguridad (1) | Hasta e incluyendo cat. 4/PL e según según EN ISO 13849-1,
SIL 3 acc. según IEC 61508 |
SRT | 6 ms |
Anchura de impulso de prueba de seguridad, máx. | 0.7 ms |
Período de impulso de prueba de seguridad, típico | 512 ms |
Diagnósticos de detección de carga abierta | Estado desactivado (se puede habilitar manualmente) |
Detección de sobrecarga de salida | Sí, 4 A típico |
Detección de cortocircuito a alto de salida | Sí en modo Safety Pulse Test. |
Detección de cortocircuito de canal a canal | Sí en modo Safety Pulse Test. |
Detección de sobretemperatura del módulo | Sí |
Protección contra cortocircuito a tierra/sobrecarga de
salida | Sí |
Protección contra voltaje inverso de la fuente de
alimentación de SA | Sí |
Protección contra sobrevoltaje de suministro de SA, máx. | 60 VCC |
(1) Consulte el Manual del usuario – Módulos de E/S digitales
PointMax, publicación 5034-UM002, para
conocer los niveles de idoneidad de la aplicación de
seguridad y los datos de seguridad de los módulos de
seguridad. |
Atributo | 5034-OB8S, 5034-OB8SXT |
---|---|
Salidas por módulo | 8 |
Tipo de salida | Surtidor |
Voltaje de fuente de alimentación nominal de alimentación
eléctrica de SA | 24 VCC |
Rango de voltajes de funcionamiento de la alimentación
eléctrica de SA | 18…30 VCC |
Corriente de alimentación eléctrica de SA, nom. | 8.1 A a 40 °C (104 °F) 4.1 A a 60 °C (140 °F) |
Corriente de alimentación eléctrica de SA, máx. | 8.1 A a 40 °C (104 °F) 4.1 A a 60 °C (140 °F) |
Corriente de alimentación eléctrica de SA sin carga | 20 mA a 24 VCC |
Disipación de energía, máx. | 2.6 W a 40 °C (104 °F) 1.4 W a 60 °C (140 °F) |
Disipación térmica, máx. | 8.87 BTU/h a 40 °C (104 °F) 4.78 BTU/h a 60 °C (140 °F) |
Voltaje de aislamiento | 250 V (régimen continuo), tipo de aislamiento básico, sistema
a campo Sin aislamiento entre los puertos de salidas y la
alimentación eléctrica de SA Sin aislamiento entre los puertos de salidas individuales |
Compatibilidad con RIUP | Sí |
CIP Sync | Sí, reloj común de solo esclavo |
Codificación electrónica | Codificación electrónica mediante software de
programación |
Posiciones de la llave del RTB (ranura) | 1, 5, 14 |
RTB compatible | 5034-RTB18, 5034-RTB18S |
Categoría de cableado (1) | 2: puertos de señal 2: puertos de alimentación eléctrica |
Especificaciones de cableado | Consulte las especificaciones de cableado de los bloques de
terminales extraíbles en los Datos técnicos –
Especificaciones del sistema E/S PointMax, publicación 5034-TD001 |
Indicadores | 1 indicador de estado de módulo verde/rojo 1 indicador de estado de alimentación eléctrica de SA
verde/rojo 8 indicadores de estado de E/S amarillos/rojos |
Dimensiones aproximadas (alto × ancho × profundidad) | 123.6 × 15.0 × 66.4 mm (4.87 × 0.59 × 2.61 pulg.) |
Peso aprox. | 46.0 g (1.62 oz) – 5034-OB8S 49.0 g (1.73 oz) – 5034-OB8SXT |
Tipo de envolvente | Ninguna (estilo abierto) |
Código de temperatura norteamericano | T4 |
Código de temperatura UKEX/ATEX | T4 |
Código de temperatura IECEx | T4 |
(1) Utilice esta información sobre las categorías de
conductores para planificar la instalación de conductores.
Consulte el documento Pautas de cableado y conexión a tierra
de equipos de automatización industrial, publicación 1770-4.1. Utilice
esta información sobre categoría de conductores para
planificar la instalación de conductores como se describe en
el correspondiente manual de instalación a nivel de
sistema. |
Entregue su opinión