Módulos RTD/TC aislados de 4 entradas analógicas 5034-IRT4I y 5034-IRT4IXT
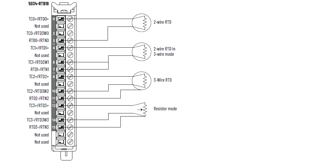
Diagrama de cableado de los módulos 5034-IRT4I y 5034-IRT4IXT – Modo
RTD

Diagrama de cableado de los módulos 5034-IRT4I y 5034-IRT4IXT – Modo de
termopar

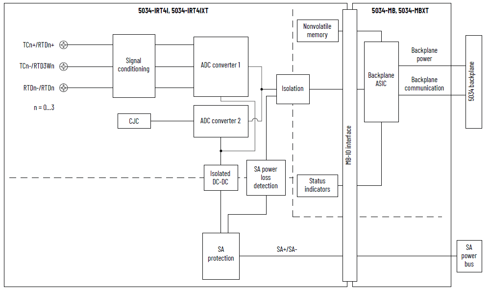
Diagrama de bloques de funciones de 5034-IRT4I y 5034-IRT4IXT

Atributo | 5034-IRT4I, 5034-IRT4IXT |
---|---|
Rango de entrada, resistivo | 1...500 Ω 2...1000 Ω 4...2000 Ω 8...4000 Ω |
Tipo de entrada, RTD | 100, 200, 500, 1000 Ω platino, alfa = 385 100, 200, 500, 1000 Ω platino, alfa = 3916 120 Ω níquel, alfa = 672 100, 120, 200, 500 Ω níquel, alfa = 618 10 Ω cobre 427 |
Rango de entrada, termopar/milivoltios | ±100 mV |
Tipo de entrada, termopar | B, C, D, E, J, K, N, R, S, T, TXK/XK(L) |
Impedancia de entrada | Termopar/milivoltios: > 1 MΩ RTD: > 1 MΩ |
Voltaje de modo común (canal a canal) | 250 V (régimen continuo), aislamiento básico |
Método de conversión del módulo | ADC multiplexado de 24 bits Sigma-delta |
Resolución, RTD/resistiva Filtro de muesca de 50/60 Hz | 16 bits |
Resolución, termopar/milivoltios Filtro de muesca de 50/60 Hz | 16 bits |
Corriente de excitación RTD | 250 μA para rango de 1000, 2000, 4000 Ω 500 μA para el rango de 500 Ω |
Linealización de termopares | ITS-90 |
Modo CJ | CJC incorporada, CJC RTB, CJC remota |
Entradas CJC incorporadas (solo para uso en modo de termopar) | Sensores CJC Cuatro termistores incorporados en 5034-IRT4I y
5034-IRT4IXT Vishay NTCS0805E3103FHT |
Exactitud del sensor CJC incorporado | ±3.0 °C, 0 °C < T amb < 60 °C (±5.4 °F, 32 °F
< Tamb < 140 °F)±4.0 °C, –25 °C < T amb < 0 °C (±7.2 °F, –13
°F < Tamb < 32 °F) |
Entradas de CJC RTB (solo para uso en modo de termopar) | Sensores CJC Cuatro termistores incorporados en 5034-RTBT y 5034-RTBTS TE Connectivity TE 10K3A1A |
Exactitud del sensor CJC RTB | ±0.6 °C, 0 °C < T amb < 60 °C (±1.1 °F, 32 °F
< Tamb < 140 °F)±1.2 °C, –25 °C < T amb < 0 °C (±2.2 °F, –13
°F < Tamb < 32 °F) |
Método de conversión CJC | SAR de 12 bits |
Exactitud de calibración a 25 °C (77 °F) | Termopar/milivoltios: 0.1% escala total con filtro de 50/60
Hz RTD: 500 Ω, 1 kΩ, 2 kΩ, rango de 4 kΩ, escala total de 0.1%
con filtro de 50/60 Hz |
Exactitud de calibración en el rango total de temperatura –25…+60 °C (–13…+140 °F) | Termopar/milivoltios: 0.25% escala total con filtro de 50/60
Hz RTD: 500 Ω, 1 kΩ, 2 kΩ, rango de 4 kΩ, 0.25% escala total con
filtro de 50/60 Hz |
Tiempo de escán más rápido por canal | 0.36 ms |
Tiempo de escán más rápido por módulo | 0.36 ms |
Selecciones de filtro de muesca de entrada (Hz) | 10, 20, 50, 60 (predeterminado), 100, 200, 500, 1000, 2500,
5000 |
Filtro de entrada de hardware | 1 kHz |
Filtro de entrada digital | Retardo de primer orden, 0 ms (predeterminado) 0...32,767 ms (32.767 s) |
Relación de rechazo de ruido de modo normal | 65 dB a 50/60 Hz, dependiendo del filtro de muesca |
Tiempo de detección de conductor abierto | < 200 ms |
Protección contra sobrevoltaje, máx. | 32 VCC |
Escalado a unidades de medición | Sí |
Muestreo de canales en tiempo real | Sí |
Sello de hora periódico de entradas | Sí |
Formato de datos | IEEE 754 Punto flotante de 32 bits |
Tipos de sensor de RTD (1) | Rango de temperatura |
---|---|
100, 200, 500, 1000 Ω PT 385 | –200…+870 °C –328…+1598 °F 73...1143 K 132…2058 °R |
100, 200, 500, 1000 Ω PT 3916 | –200…+630 °C –328…+1166 °F 73…903 K 132…1626 °R |
10 Ω CU 427 | –200…+260 °C –328…+500 °F 73…533 K 132…960 °R |
120 Ω Ni 672 | –80…+320 °C –112…+608 °F 193…593 K 348…1068 °R |
100, 120, 200, 500 Ω NI 618 | –60…+250 °C –76…+482 °F 213…523 K 384…942 °R |
(1) Cada tipo de sensor acepta todos los rangos de
temperatura listados. |
Tipo de termopar | Rango de temperatura |
---|---|
Termopar tipo B | 21…1820 °C 68…3308 °F 293...2093 K 528…3768 °R |
Termopar tipo C | 0…2315 °C 32…4199 °F 273...2588 K 492…4659 °R |
Termopar tipo D | 0…2315 °C 32…4199 °F 273...2588 K 492…4659 °R |
Termopar tipo E | –270…+1000 °C –454…+1832 °F 3…1273 K 6…2292 °R |
Termopar, tipo J | –210…+1200 °C –346…+2192 °F 63…1473 K 114…2652 °R |
Termopar tipo K | –270…+1372 °C –454…+2502 °F 3…1645 K 6…2961 °R |
Termopar tipo N | –270…+1300 °C –454…+2372 °F 3…1573 K 6…2832 °R |
Termopar tipo R | –50…+1768 °C –58…+3215 °F 223…2041 K 402…3674 °R |
Termopar tipo S | –50…+1768 °C –58…+3215 °F 223…2041 K 402…3674 °R |
Termopar tipo T | –270…+400 °C –454…+752 °F 3…673 K 6…1212 °R |
Termopar tipo TXK/XK(L) | –200…+800 °C –328…+1472 °F 73…1073 K 132…1932 °R |
Atributo | 5034-IRT4I, 5034-IRT4IXT |
---|---|
Número de entradas | 4 canales (4 grupos aislados) |
Voltaje de alimentación eléctrica de SA, nom. | 24 VCC |
Rango de voltaje de la alimentación eléctrica de SA | 10…30 VCC |
Corriente de alimentación eléctrica de SA, nom. | 50 mA |
Corriente de alimentación eléctrica de SA, máx. | 0.1 A |
Corriente de alimentación eléctrica de SA sin carga | 11 mA |
Protección contra inversión de polaridad SA | Sí |
Disipación de energía, máx. (1) | 0.42 W |
Disipación térmica, máx. (1) | 1.43 BTU/h |
Voltaje de aislamiento | 250 V (régimen continuo), tipo de aislamiento básico, sistema
a campo 250 V (régimen continuo), tipo de aislamiento básico,
alimentación eléctrica de SA y puertos de entrada 250 V (régimen continuo), tipo de aislamiento básico, entre
puertos de entrada individuales |
Calibración | Calibrado en fábrica Calibración manual aceptada, consulte el Manual del usuario —
Módulos de E/S analógicas PointMax, publicación 5034-UM003 |
Compatibilidad con RIUP | Sí |
CIP Sync | Sí, reloj común de solo esclavo |
Codificación electrónica | Codificación electrónica mediante software de
programación |
Posiciones de la llave del RTB (ranura) | 2, 7, 10 |
RTB compatible | 5034-RTB18, 5034-RTB18S, 5034-RTBT, 5034-RTBTS Para ayudar a lograr una mayor exactitud, utilice los
termistores CJC incorporados en los módulos 5034-RTBT y
5034-RTBTS. |
Categoría de cableado (2) | 2: puertos de señal 2: puertos de alimentación eléctrica |
Especificaciones de cableado | Consulte las especificaciones de cableado de los bloques de
terminales extraíbles en los Datos técnicos –
Especificaciones del sistema E/S PointMax, publicación 5034-TD001 |
Indicadores | 1 indicador de estado de módulo verde/rojo 1 indicador de estado de alimentación eléctrica de SA
verde/rojo 4 indicadores de estado de E/S amarillos/rojos |
Dimensiones aproximadas (alto × ancho × profundidad) | 123.6 × 15.0 × 66.4 mm (4.87 × 0.59 × 2.61 pulg.) |
Peso aprox. | 45.0 g (1.59 oz) – 5034-IRT4I 48.0 g (1.69 oz) – 5034-IRT4IXT |
Tipo de envolvente | Ninguna (estilo abierto) |
Código de temperatura norteamericano | T4 |
Código de temperatura UKEX/ATEX | T4 |
Código de temperatura IECEx | T4 |
(1) El valor se mide a 60 °C (140 °F). La disipación de
energía varía con la temperatura. (2) Utilice esta información sobre las categorías de
conductores para planificar la instalación de conductores.
Consulte el documento Pautas de cableado y conexión a tierra
de equipos de automatización industrial, publicación 1770-4.1. Utilice
esta información sobre categoría de conductores para
planificar la instalación de conductores como se describe en
el correspondiente manual de instalación a nivel de
sistema. |
Entregue su opinión