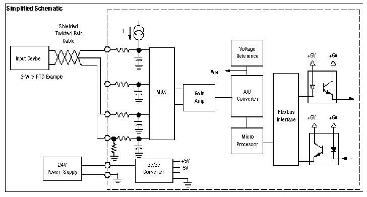
Wiring Diagram 1794-IRT8

The recommended Terminal Base for the Output 1794-IRT8 is the 1794-TB3G. A wiring diagram to the 1794-TB3G is shown below. The compatible Terminal Base for the 1794-IRT8 is the 1794-TB3GS.
1794irt8
1794irt8a
1794irt8b
1794irt8c
1794irt8e
1794irt8f
Provide Feedback
Have questions or feedback about this documentation? Please submit your feedback here.
Normal