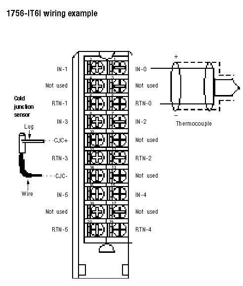
Wiring Diagram - 1756-IT6I
Cold Junction Compensation
When using the Thermocouple (1756-IT6I) module, you must account for additional voltage that may be generated on the wiring connector. The junction of thermocouple field wires with the screw terminations of an RTB generates a small voltage. This thermoelectric effect alters the input signal.
To accurately measure the input signal from your module, you must use a cold junction sensor (CJS) to account for the increased voltage.
The
Logix Designer
application provides the three CJS options for Thermocouple applications:- Remote CJ Compensation - option must be enabled if you decide to use a CJS on an IFM
- CJ Offset - option allows you to accurately account for offset inaccuracies in the CJS
- CJ Disable - option must be enabled if you decide not to use a CJS with your application
If you use an IFM to connect wiring to your thermocouple module, you do not need to attach the CJS. The IFM compensates for any additional voltage (has a CJS internally).
To ease installation, wire terminal #12 before connecting the cold junction sensor.

TIP:


Provide Feedback