Search
Studio 5000 Logix Designer Online Help
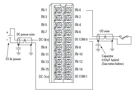
Wiring Diagram - 1756-IG16
General Notes
We recommend you use Belden M 8761 cable where shielded cables are shown.
Do not connect more than two wires to any single terminal.
CE Requirement Notes
DC power wire and I/O wire should not exceed 10m (30ft) in length.
The 0.01µ F capacitors shown above must be rated for 2000V dc.
Module Information
Provide Feedback
Have questions or feedback about this documentation? Please
submit your feedback here
.
Normal