5034-OB8S und 5034-OB8SXT – Digitale Ausgangssicherheitsmodule, 8-fach
Weitere Beispiele für Verdrahtungspläne für 5034-OB8S und 5034-OB8SXT, die in
Anwendungen für funktionale Sicherheit verwendet werden können, finden Sie in
Publikation 5034-UM002, „PointMax Digital I/O Modules
User Manual“ (Digitale PointMax-E/A-Module – Benutzerhandbuch). Die
Verdrahtungskonfiguration beeinflusst das Sicherheitsanwendungslevel eines
PointMax-E/A-Sicherheitsmoduls.
5034-OB8S und 5034-OB8SXT – Verdrahtungsplan

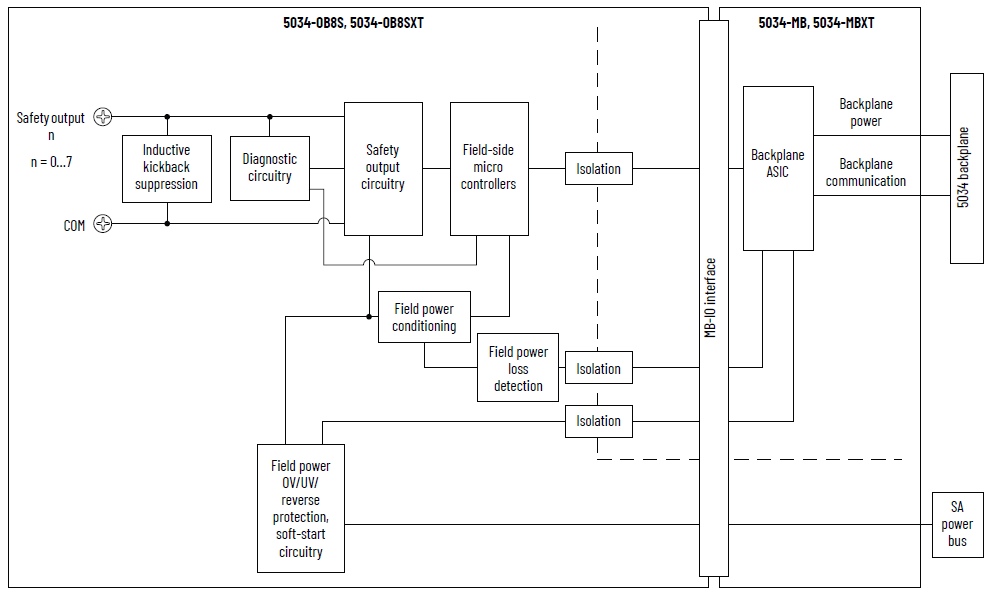
5034-OB8S und 5034-OB8SXT – Funktionsblockdiagramm

Attribut | 5034-OB8S, 5034-OB8SXT |
---|---|
Spannungsbereich für EIN-Zustand | 17,5 bis 30 V DC |
Spannungsabfall im EIN-Zustand, max. | 0,5 V DC bei 1 A |
Spannung für AUS-Zustand, max. | 5 V DC mit min. 10 kΩ Last |
Leckstrom im AUS-Zustand pro Punkt, max. | 0,5 mA |
Ausgangsstrom, Werte pro Punkt, max. | 1 A bei 40 °C (104 °F) 0,5 A bei 60 °C (140 °F) |
Ausgangsstrom pro Modul, gesamt | 8 A bei 40 °C (104 °F) 4 A bei 60 °C (140 °F) |
Zulässiger Grenzwert für Feldkapazitanz pro Ausgang, max. | 100 nF |
Zulässiger Grenzwert für Feldinduktivität pro Ausgang,
max. | 1,2 H bei 0,5 A |
Ausgangsklemmenspannung für induktive Last beim Ausschalten,
max. | 53 V DC |
Stoßstrom pro Punkt, max. | 2,4 A für 50 ms, wiederholbar alle 2 s Der Modulnennstrom darf 10 A nicht überschreiten. |
Sicherheitsklasse (1) | Bis einschließlich Kat. 4/PL e gem. EN ISO 13849-1, SIL 3
gem. IEC 61508 |
SRT | 6 ms |
Impulsdauer für Sicherheitstest, max. | 0,7 ms |
Impulszeitraum für Sicherheitstest, typisch | 512 ms |
Diagnose zur Erkennung offener Lasten | AUS-Zustand (kann manuell aktiviert werden) |
Überlasterkennung Ausgang | Ja, 4 A typisch |
Kurzschluss-zu-Hoch-Erkennung Ausgang | Ja, im Testmodus für Sicherheitsimpuls |
Kurzschlusserkennung Kanal-zu-Kanal | Ja, im Testmodus für Sicherheitsimpuls |
Übertemperaturerkennung Modul | Ja |
Erdungs-/Überlastschutz am Ausgang | Ja |
Verpolungsschutz Feldspannungsversorgung | Ja |
Überspannungsschutz Feldspannungsversorgung, max. | 60 V DC |
(1) Informationen zu den Eignungsstufen und Sicherheitsdaten
für Sicherheitsmodule finden Sie in Publikation 5034-UM002,
„PointMax Digital I/O Modules User Manual“ (Digitale
PointMax-E/A-Module – Benutzerhandbuch). |
Attribut | 5034-OB8S, 5034-OB8SXT |
---|---|
Ausgänge pro Modul | 8 |
Ausgangstyp | Beschaffung |
Nennbetriebsversorgungsspannung der
Feldspannungsversorgung | 24 V DC |
Betriebsspannungsbereich der Feldspannungsversorgung | 18 bis 30 V DC |
Feldspannungsversorgung, Strom, nom. | 8,1 A bei 40 °C (104 °F) 4,1 A bei 60 °C (140 °F) |
Feldspannungsversorgung, Strom, max. | 8,1 A bei 40 °C (104 °F) 4,1 A bei 60 °C (140 °F) |
Feldspannungsversorgung, Strom, bei Nulllast | 20 mA bei 24 V DC |
Verlustleistung, max. | 2,6 W bei 40 °C (104 °F) 1,4 W bei 60 °C (140 °F) |
Wärmeabstrahlung, max. | 8,87 BTU/Stunde bei 40 °C (104 °F) 4,78 BTU/Stunde bei 60 °C (140 °F) |
Isolationsspannung | 250 V (kontinuierlich), Basisisolierungstyp, System zu
Feld Keine Isolation zwischen Feldspannungsversorgung und
Ausgangsports Keine Isolation zwischen den einzelnen Ausgängen |
RIUP-Unterstützung | Ja |
CIP Sync | Ja, normale Nebenuhr |
Elektronische Codierung | Elektronische Codierung über Programmiersoftware |
Schlüsselpositionen der abnehmbaren Klemmenleiste
(Steckplatz) | 1, 5, 14 |
Unterstützung für abnehmbare Klemmenleiste | 5034-RTB18, 5034-RTB18S |
Verdrahtungskategorie (1) | 2 – Signalports 2 – Leistungsports |
Verdrahtungsspezifikation | Siehe Verdrahtungsspezifikationen für abnehmbare
Klemmenleisten in Publikation 5034-TD001,
„PointMax I/O System Specifications Technical Data“
(PointMax-E/A-System – Spezifikationen und technische
Daten). |
Anzeigen | 1 grüne/rote Modulstatusanzeige 1 grüne/rote Feldspannungsversorgungs-Statusanzeige 8 gelbe/rote E/A-Statusanzeigen |
Abmessungen (H x B x T) ca. | 123,6 x 15,0 x 66,4 mm (4,87 x 0,59 x 2,61 Zoll) |
Gewicht (ca.) | 46,0 g (1,62 oz) – 5034-OB8S 49,0 g (1,73 oz) – 5034-OB8SXT |
Gehäusetyp | Keine (offen) |
Nordamerikanischer Temperaturcode | T4 |
UKEX/ATEX-Temperaturcode | T4 |
IECEx-Temperaturcode | T4 |
(1) Nutzen Sie diese Daten zur Leiterkategorie für die
Planung der Leiterverlegung. Siehe Publikation 1770-4.1,
„Industrial Automation Wiring and Grounding Guidelines“
(Leitlinien zur störungsfreien Verdrahtung und Erdung von
industriellen Automatisierungssystemen). Verwenden Sie diese
Informationen zur Leiterkategorie, um die Leiterverlegung zu
planen, wie im entsprechenden Handbuch zur Installation auf
Systemebene beschrieben. |
Rückmeldung geben