5034-IRT4I und 5034-IRT4IXT – isolierte, analoge RTD/TC-Module, 4-fach
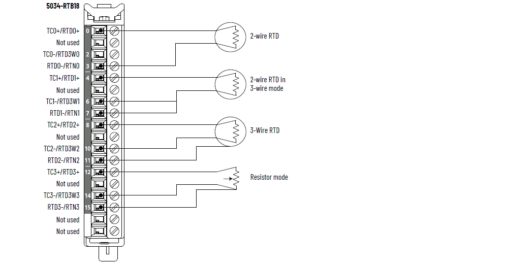
5034-IRT4I und 5034-IRT4IXT – Verdrahtungsdiagramm, RTD-Modus

5034-IRT4I und 5034-IRT4IXT – Verdrahtungsdiagramm, TC-Modus

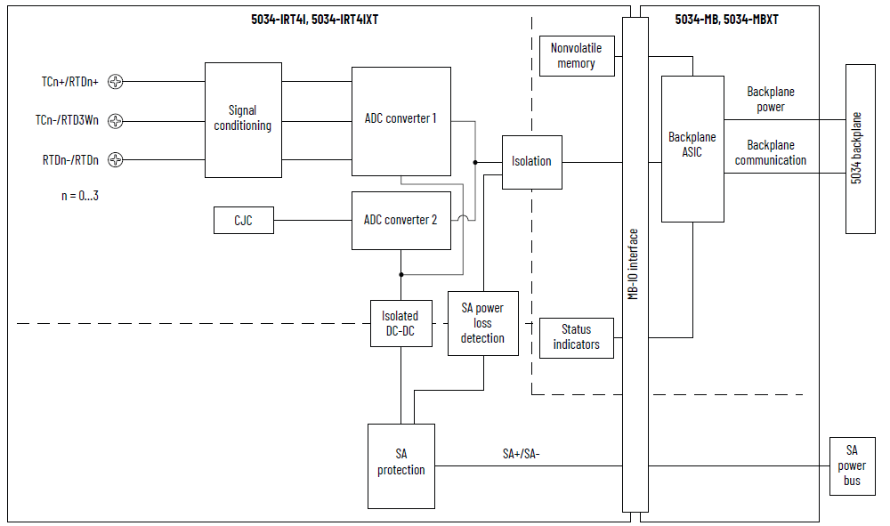
5034-IRT4I und 5034-IRT4IXT – Funktionsblockdiagramm

Attribut | 5034-IRT4I, 5034-IRT4IXT |
|---|---|
Eingangsbereich, resistiv | 1 bis 500 Ω 2 bis 1000 Ω 4 bis 2000 Ω 8 bis 4000 Ω |
Eingangstyp, RTD | 100, 200, 500, 1000 Ω, Platin, Alpha = 385 100, 200, 500, 1000 Ω, Platin, Alpha = 3916 120 Ω, Nickel, Alpha = 672 100, 120, 200, 500 Ω, Nickel, Alpha = 618 10 Ω, Kupfer 427 |
Eingangsbereich, Thermoelement/Millivolt | ±100 mV |
Eingangstyp, Thermoelement | B, C, D, E, J, K, N, R, S, T, TXK/XK(L) |
Eingangsimpedanz | Thermoelement/Millivolt: > 1 MΩ RTD: > 1 MΩ |
Gleichtaktpotenzial (Kanal zu Kanal) | 250 V (kontinuierlich), Basisisolierung |
Modulkonvertierungsmethode | Sigma-Delta, 24-Bit Multiplexing ADC |
Auflösung, RTD/Widerstand Bei 50/60 Hz Kerbfilter | 16 Bit |
Auflösung, Thermoelement/Millivolt Bei 50/60 Hz Kerbfilter | 16 Bit |
RTD Erregungsstrom | 250 μA für den Bereich 1000, 2000, 4000 Ω 500 μA für den Bereich 500 Ω |
Linearisierung Thermoelement | ITS-90 |
CJ-Modus | Integrierte CJC, RTB CJC, Remote CJC |
Integrierte CJC-Eingänge (nur zur Verwendung im Thermoelement-Modus) | CJC-Sensoren Vier Thermistoren integriert in 5034-IRT4I und
5034-IRT4IXT Vishay NTCS0805E3103FHT |
Genauigkeit des integrierten CJC-Sensors | ±3,0 °C, 0 °C < T amb < 60 °C (±5,4 °F, 32 °F
< Tamb < 140 °F)±4,0 °C, –25 °C < T amb < 0 °C (±7,2 °F,
–13 °F < Tamb < 32 °F) |
RTB-CJC-Eingänge (nur zur Verwendung im Thermoelement-Modus) | CJC-Sensoren Vier Thermistoren integriert in 5034-RTBT und 5034-RTBTS TE-Konnektivität TE 10K3A1A |
RTB-CJC-Sensorgenauigkeit | ±0,6 °C, 0 °C < T amb < 60 °C (±1,1 °F, 32 °F
< Tamb < 140 °F)±1,2 °C, –25 °C < T amb < 0 °C (±2,2 °F,
–13 °F < Tamb < 32 °F) |
CJC-Konvertierungsmethode | 12-Bit-SAR |
Kalibrierte Genauigkeit bei 25 °C (77 °F) | Thermoelement/Millivolt: 0,1 % Gesamtbereich mit
50/60-Hz-Filter RTD: Bereich 500 Ω, 1 kΩ, 2 kΩ, 4 kΩ, 0,1 % Gesamtbereich mit
50/60-Hz-Filter |
Kalibrierte Genauigkeit über gesamten Temperaturbereich –25 bis +60 °C (–13 bis +140 °F) | Thermoelement/Millivolt: 0,25 % Gesamtbereich mit
50/60-Hz-Filter RTD: Bereich 500 Ω, 1 kΩ, 2 kΩ, 4 kΩ, 0,25 % Gesamtbereich
mit 50/60-Hz-Filter |
Kürzeste Abtastzeit pro Kanal | 0,36 ms |
Kürzeste Abtastzeit pro Modul | 0,36 ms |
Auswahlmöglichkeiten für Eingangskerbfilter (Hz) | 10, 20, 50, 60 (Standard), 100, 200, 500, 1000, 2500,
5000 |
Hardware-Eingangsfilter | 1 kHz |
Digital-Eingangsfilter | Nacheilung erster Ordnung, 0 ms (Standard) 0 bis 32 767 ms (32,767 s) |
Störungsunterdrückung Normalmodus | 65 dB bei 50/60 Hz, je nach Kerbfilter |
Drahtbruch-Erkennungszeit | < 200 ms |
Überspannungsschutz, max. | 32 V DC |
Skalierung in technische Einheiten | Ja |
Echtzeitabtastung der Kanäle | Ja |
Fortlaufender Zeitstempel für Eingänge | Ja |
Datenformat | IEEE 754 32-Bit-Fließkomma |
RTD-Sensortypen (1) | Temperaturbereich |
|---|---|
100, 200, 500, 1000 Ω PT 385 | –200 bis +870 °C –328 bis +1598 °F 73 bis 1143 K 132 bis 2058 °R |
100, 200, 500, 1000 Ω PT 3916 | –200 bis +630 °C –328 bis +1166 °F 73 bis 903 K 132 bis 1626 °R |
10 Ω CU 427 | –200 bis +260 °C –328 bis +500 °F 73 bis 533 K 132 bis 960 °R |
120 Ω NI 672 | –80 bis +320 °C –112 bis +608 °F 193 bis 593 K 348 bis 1068 °R |
100, 120, 200, 500 Ω NI 618 | –60 bis +250 °C –76 bis +482 °F 213 bis 523 K 384 bis 942 °R |
(1) Jeder Sensortyp unterstützt alle aufgeführten
Temperaturbereiche. | |
Thermoelementtyp | Temperaturbereich |
|---|---|
Thermoelement Typ B | 21 bis 1820 °C 68 bis 3308 °F 293 bis 2093 K 528 bis 3768 °R |
Thermoelement Typ C | 0 bis 2315 °C 32 bis 4199 °F 273 bis 2588 K 492 bis 4659 °R |
Thermoelement Typ D | 0 bis 2315 °C 32 bis 4199 °F 273 bis 2588 K 492 bis 4659 °R |
Thermoelement Typ E | –270 bis +1000 °C –454 bis +1832 °F 3 bis 1273 K 6 bis 2292 °R |
Thermoelement Typ J | –210 bis +1200 °C –346 bis +2192 °F 63 bis 1473 K 114 bis 2652 °R |
Thermoelement Typ K | –270 bis +1372 °C –454 bis +2502 °F 3 bis 1645 K 6 bis 2961 °R |
Thermoelement Typ N | –270 bis +1300 °C –454 bis +2372 °F 3 bis 1573 K 6 bis 2832 °R |
Thermoelement Typ R | –50 bis +1768 °C –58 bis +3215 °F 223 bis 2041 K 402 bis 3674 °R |
Thermoelement Typ S | –50 bis +1768 °C –58 bis +3215 °F 223 bis 2041 K 402 bis 3674 °R |
Thermoelement Typ T | –270 bis +400 °C –454 bis +752 °F 3 bis 673 K 6 bis 1212 °R |
Thermoelement Typ TXK/XK(L) | –200 bis +800 °C –328 bis +1472 °F 73 bis 1073 K 132 bis 1932 °R |
Attribut | 5034-IRT4I, 5034-IRT4IXT |
|---|---|
Anzahl der Eingänge | 4 Kanäle (4 isolierte Gruppen) |
Feldspannungsversorgung, Spannung, nom. | 24 V DC |
Feldspannungsversorgung, Spannungsbereich | 10 bis 30 V DC |
Feldspannungsversorgung, Strom, nom. | 50 mA |
Feldspannungsversorgung, Strom, max. | 0,1 A |
Feldspannungsversorgung, Strom, bei Nulllast | 11 mA |
SA-Verpolungsschutz | Ja |
Verlustleistung, max. (1) | 0,42 W |
Wärmeabstrahlung, max. (1) | 1,43 BTU/Stunde |
Isolationsspannung | 250 V (kontinuierlich), Basisisolierungstyp, System zu
Feld 250 V (kontinuierlich), Basisisolierungstyp,
Feldspannungsversorgung und Eingangsports 250 V (kontinuierlich), Basisisolierungstyp, zwischen
einzelnen Eingangsports |
Kalibrierung | Werkseitig kalibriert Manuelle Kalibrierung unterstützt, siehe Publikation 5034-UM003,
„PointMax Analog I/O Modules User Manual“ (Analoge
PointMax-E/A-Module – Benutzerhandbuch). |
RIUP-Unterstützung | Ja |
CIP Sync | Ja, normale Nebenuhr |
Electronic Keying (Elektronische Codierung) | Elektronische Codierung über Programmiersoftware |
Schlüsselpositionen der abnehmbaren Klemmenleiste
(Steckplatz) | 2, 7, 10 |
Unterstützung für abnehmbare Klemmenleiste | 5034-RTB18, 5034-RTB18S, 5034-RTBT, 5034-RTBTS Verwenden Sie die in 5034-RTBT und 5034-RTBTS integrierten
CJC-Thermistoren, um eine höhere Genauigkeit zu
erzielen. |
Verdrahtungskategorie (2) | 2 – Signalports 2 – Leistungsports |
Verdrahtungsspezifikation | Siehe Verdrahtungsspezifikationen für abnehmbare
Klemmenleisten in Publikation 5034-TD001,
„PointMax I/O System Specifications Technical Data“
(PointMax-E/A-System Spezifikationen und technische
Daten). |
Anzeigen | 1 grüne/rote Modulstatusanzeige 1 grüne/rote Feldspannungsversorgungs-Statusanzeige 4 gelbe/rote E/A-Statusanzeigen |
Abmessungen (H x B x T) ca. | 123,6 x 15,0 x 66,4 mm (4,87 x 0,59 x 2,61 Zoll) |
Gewicht (ca.) | 45,0 g (1,59 oz) – 5034-IRT4I 48,0 g (1,69 oz) – 5034-IRT4IXT |
Gehäusetyp | Keine (offen) |
Nordamerikanischer Temperaturcode | T4 |
UKEX/ATEX-Temperaturcode | T4 |
IECEx-Temperaturcode | T4 |
(1) Der Wert wird bei 60 °C (140 °F) gemessen. Die
Verlustleistung variiert je nach Temperatur. (2) Verwenden Sie diese Daten zur Leiterkategorie für die
Planung der Leiterverlegung. Siehe Publikation 1770-4.1,
„Industrial Automation Wiring and Grounding Guidelines“
(Leitlinien zur störungsfreien Verdrahtung und Erdung von
industriellen Automatisierungssystemen). Verwenden Sie diese
Informationen zur Leiterkategorie, um die Leiterverlegung zu
planen, wie im entsprechenden Handbuch zur Installation auf
Systemebene beschrieben. | |
Rückmeldung geben